advertisement
Gallery
Product Information
WII’s Drop-Out Fuse Cutout is a protective and disconnecting device for outdoor 12-33 kV medium-voltage systems..
This MV fuse cutout is composed of various parts and components, as illustrated in Fig. 1. Its line-end connector of the fuse cutout is attached to an overhead feeder line, while its load-side connector is attached to the primary of a distribution transformer. The Fuse Cutout can protect the distribution transformer in various ways or situations: (1) in the case of a fault in the transformer itself; (2) against surge current impact on the primary side; (3) when the loads are short-circuited. When the current exceeds the rated value of the fuse link, the fuse link melts and disconnects the transformer from the line so that the transformer will not suffer subsequent damage. In addition, the fuse cutout can be used to protect a long feeder circuit.
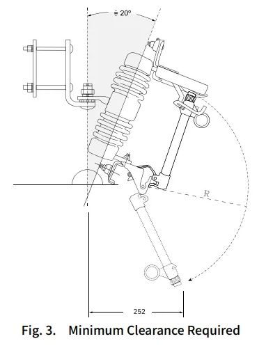
The fuse cutout is constructed in such a way that the fuse tube can be manually pulled out by the pull ring with a hot stick by a lineworker standing on the ground.



Looking for new opportunities in the Saudi market?
Receiving real RFQs is the key for new orders.
Here in Project Suppliers platform we gain you the new opportunity.